六大连锁,前三季度总计关店1927家。
连锁药店门店优化调整头部与区域企业均受波及
截至目前,多家大型连锁药店已经发布最新业绩报告。赛柏蓝不完全统计发现,多家头部企业闭店规模显著,截至前三季度,一心堂、益丰、老百姓、大参林、健之佳、漱玉平民同期分别关闭门店430家、440家、304家、447家(直营)、83家、223家。
行业整体数据同样反映出收缩态势,根据中康数据,截至今年6月底,全国药店门店数为695226家,同比下降1.3%。药店门店优化持续,原因多样,其中不少是因为发展规划及经营策略调整。
同样有大型药店的国药一致,在第三季度业绩报告中指出,通过关闭低效门店、提升单店产出,有效降低了人工与租金等刚性费用。2025年前三季度,国药一致实现营收551.24亿元,同比下降2.38%;归属于上市公司股东的净利润9.57亿元,同比下降10.18%。其中零售板块(即国大药房)实现营收152.26亿元,同比下降7.14%;实现净利润0.13亿元,同比增长133.91%。从时间维度看,2024-2025年上半年一年半的时间里,国大药房已经关闭了超2100家药店。
药店优化调整已从全国性连锁蔓延至区域龙头企业。
以北京金象大药房医药连锁有限责任公司为例,赛柏蓝查询企查查数据发现,其对外投资的16家药店中,仅有1家目前处于存续/在业状态,14家已经注销,1家吊销。

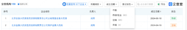
图片来源:企查查
在终端门店上,北京金象大药房医药连锁有限责任公司有159家分支机构,注销95家,吊销4家,存续/在业状态的仅剩60家,超62%的门店已经退出市场。

图片来源:企查查
北京金象大药房医药连锁有限责任公司成立于2000年,注册资本4222.22万元。值得注意的是,北京金象大药房背景雄厚,第一大股东为国药控股国大药房(持股53.1299%),第二大股东为北京金象复星医药(持股42.6316%),但仍未能扭转发展下滑态势。
在此之前,地方连锁大药店泉州市东南医药连锁有限公司门店数量也已缩减约64%。截至11月9日,赛柏蓝查询企查查发现,泉州市东南医药连锁有限公司旗下分支机构共有364家,其中210家已注销、25家被吊销,目前仅129家门店处于存续/开业状态。

图片来源:企查查
头部企业前三季度药店优化数量明显,虽然有国大药房这类以“关店提质”优化成本结构,但仍难掩营收与利润双降的压力。而区域龙头也存在不小的发展压力,经营策略调整、低效门店出清成为主流闭店逻辑,连锁药店行业正从规模扩张向质量提升转型,行业洗牌加速。
行业分化加剧监管升级、转型继续
不断调整的背后,连锁药店行业分化态势也愈发清晰。头部连锁已从规模扩张的“跑马圈地”转向质量优化的“精耕细作”;中型连锁主动收缩城区战线,将资源聚焦县域市场;而受资金链紧张、供应链议价能力弱、合规成本上升等多重压力影响,小连锁则成为受冲击最大的群体。
业绩层面,盈利压力同步显现。截至2025年前三季度,老百姓、一心堂、健之佳净利润分别同比下降16.11%、8.17%、0.22%,闭店背后是行业整体盈利空间的调整。
与此同时,监管政策的持续升级,进一步压缩了行业粗放发展的空间。医保飞检、智能监管已形成常态化机制,国家医保局明确要求强化对定点零售药店“阴阳价格”的监测处置,严查药师“挂证”行为。
随着药品进销存数据实时上传、全品类配备追溯码等信息化监管要求全面落地,定点零售药店端的监管矩阵全面建立。
多地还通过提高经营面积、专业人员配备、信息化建设标准等方式,抬高医保定点药店准入门槛。在此背景下,多家连锁药店开始探索非医保业务,寻求多元化增长空间。
一心堂全新打造涵盖保健食品、医疗器械、泛健康品类的非药业务板块,其中泛健康品类已成为业绩增长核心驱动力,截至2025年9月已完成805家门店的调改升级;健之佳则通过强化非药业务转型,成功降低对处方药的营收依赖,前三季度处方药营收占比下降1.75%,非处方药占比同步提升1.75%,在医保收入下降4%的冲击下,凭借存量门店效率提升稳住市场份额,营收同比仅下降2.77%,转型成效初显。
行业仍在向集中化、规范化、多元化的方向转型。商务部《关于“十四五”时期促进药品流通行业高质量发展的指导意见》明确,到2025年,培育形成5-10家超过500亿的专业化、多元化药品零售连锁企业,药品零售百强企业年销售额占药品零售市场总额65%以上,药品零售连锁率要接近70%。
连锁药店的闭店潮并非行业衰退的信号,而是从“数量竞争”到“质量竞争”转型的必经之路。
在这其中,头部企业并未停止扩张步伐,而是转向高质量布局。截至前三季度,一心堂、益丰、老百姓、大参林、健之佳、漱玉平民分别新开门店288家、137家、64家、300家(自建)、45家(自建)、757家(其中并购754家、新建3家),同时通过新增加盟店等方式巩固市场地位,行业资源向头部集中的趋势愈发明显。
(责任编辑:zx0600)
05-27
05-26
05-26
05-26
05-26
05-26
05-26
05-26
05-26
05-26